浮球閥減壓閥緩閉止回閥泄壓閥氣動球閥電動球閥不銹鋼球閥氣動蝶閥電動蝶閥法蘭蝶閥對夾式蝶閥襯氟蝶閥不銹鋼閘閥倒流防止器電動調節閥氣動調節閥自力式調節閥截止閥止回閥過濾器排氣閥排泥閥
消聲止回閥|法蘭止回閥|HC41X止回閥產品資料介紹 消聲止回閥|法蘭止回閥|HC41X止回閥型號規格
消聲止回閥|法蘭止回閥|HC41X止回閥
消聲止回閥
消聲止回閥
消聲止回閥
消聲止回閥
消聲止回閥
消聲止回閥

消聲止回閥HC41X

品牌廠家:COLAVAL/可拉伐
產品型號:HC41X
連接方式:法蘭
公稱通徑:DN40-DN600
閥體材質:球墨鑄鐵
壓力溫度:PN10-PN16 0~80℃
結構形式:升降立式
應用領域:消聲止回閥立式止回閥水泵止逆水閥法蘭單向閥消防
在線詢價

服務熱線:021-8037092318701880159

產品優點
  • 特點

    閥瓣采用彈簧加載,其快速關閉能有效的消除水錘,密封性能好,關閉無噪聲

  • 體積小

    體積小、重量輕、流體阻力小,耐疲勞

  • 降低流阻力

    閥瓣采用“子彈頭”外形設計,閥體采用“腰鼓”外形設計,改善介質流向,降低流阻系數

  • 開關迅速

    閥使用彈簧加速閥瓣關閉速度、降低水錘產生

  • 使用時間長

    骨架式橡膠密封圈直接鑲嵌在閥體上,避免了介質長時間對密封圈的直接沖刷,使用壽命明顯延長,堅固 耐用

  • 噪音小

    閥瓣前后設計為錐形,使流體阻力大大減少,又減少了因紊流所產生的噪聲

產品詳情

HC41X消聲止回閥原理作用:   

 HC41X消聲止回閥的啟閉件靠介質流動和力量自行開啟或關閉,以防止介質倒流。止回閥一般分為升降式、旋啟式、蝶式及臥式等四種類型,通式升降式止回閥應安裝于水平管路上,立式升降式止回閥和底閥一般安裝在垂直管路上,并且介質自下而上流動,旋啟式止回閥安裝位置不受限制,通常安裝于水平管路,但也可以安裝于垂直管路或傾料管路上。安裝HC41X消聲止回閥注意事項:止回閥只允許介質向一個方向流動,應特別注意介質流動方向,應使介質正常流動方向與閥體上指示的箭頭方向相一致,否則就會截斷介質的正常流動。

   HC41X節能消聲止回閥適用于給排水管道,HC41X消聲止回閥閥瓣采用進口兩端中心軸導向,啟閉靈活,可水平安裝或垂直安裝。HC41X節能消聲止回閥閥瓣采用彈簧加載,其快速關閉能有效的消除水錘,密封性能好,關閉無噪聲。HC41X節能消聲止回閥具有體積小、重量輕、流體阻力小,耐疲勞、壽命長等優點。


HC41X消聲止回閥性能特點:

①閥體內腔采用流線型設計,流量按100%設計,減少急彎、拐角、尖凸,從而減少流體的阻力;

②閥瓣前后設計為錐形,使流體阻力大大減少,又減少了因紊流所產生的噪聲;

③閥瓣關閉的行程短,只有公稱通徑的1/4,減少了閥瓣的關閉時間,減少了水錘的產生;

④閥使用彈簧加速閥瓣關閉速度、降低水錘產生;

⑤閥瓣為空心薄殼結構,減少閥瓣的慣性,不但使閥瓣關閉時能迅速啟動,也減少了關閉時的沖擊噪聲;

⑥本產品可以垂直、水平、傾斜以及任何角度安裝;

⑦內外表面均噴涂環保涂層,確保產品的防腐蝕及安全性。


HC41X消聲止回閥技術參數:

    公稱通徑DN(mm)40~600
    公稱壓力PN(Mpa)1.0~1.6
    適用介質水及弱腐蝕性流體
    適用溫度0℃~80℃
    性能參數
    型號公稱壓力PN試驗壓力PN工作溫度適用介質
    殼體密封
    HC41X1.0MPa1.5MPa1.1MPaMPa≤80℃潔凈水
    1.6MPa2.4MPa1.76MPa
    2.5MPa3.75MPa2.75MPa

HC41X消聲止回閥部件材質:

閥體灰鑄鐵、鑄鋼、不銹鋼
閥蓋鋼板、不銹鋼
閥瓣丁腈橡膠
閥軸不銹鋼

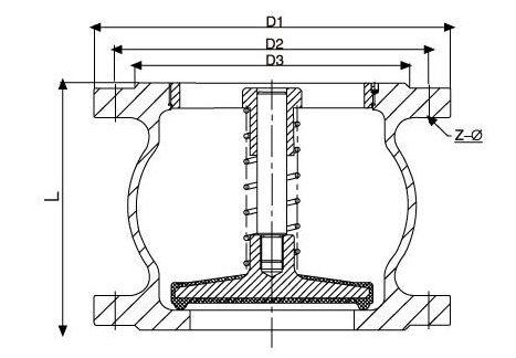
HC41X消聲止回閥外形尺寸:

    HC41X消聲止回閥尺寸圖
    公稱通徑DN尺寸 (mm)
    LDKbz-d
    40112145110184-18
    50120160125204-18
    65130180145204-18
    80150195160228-18
    100165215180248-18
    125190245210268-18
    150210280240268-22
    2002553352953012-22
    2503104053553212-26
    3003204604103212-26
    3503805204703616-26
    4004055805253816-30
    4504306405854020-30
    5004507156504220-33
    6005108407704820-36


關鍵字: 消聲止回閥
021-80370923
18701880159
在線客服
加微信聊
返回頂部

添加微信,享下單優惠!

18701880159 18701880159

(長按復制微信號,添加好友)

電話咨詢 微信咨詢